适用于盲孔和通孔的精密测量。 棘轮测力。 硬质合金测量面(不包括6-12mm)。 配有校对环规。 分辨力:0.001mm。
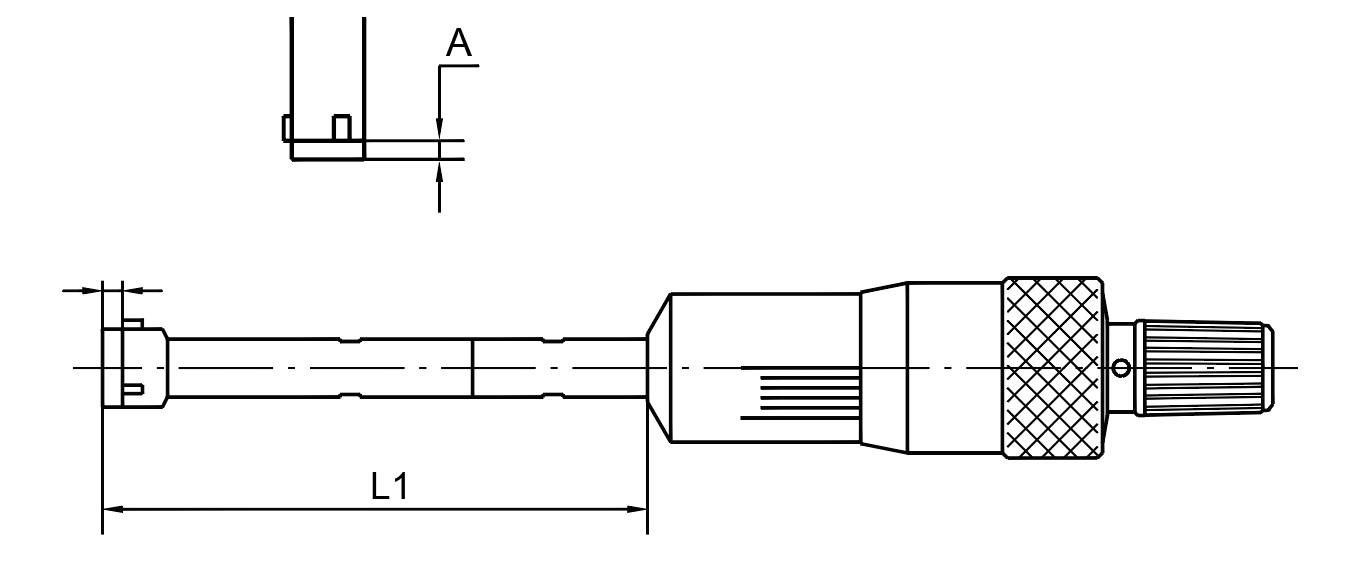
315-01-210三点内径千分尺

测量参数
| 货号 | 测量范围 | 精度 | 校对环规 | L1 | A | 接长杆 |
|---|---|---|---|---|---|---|
| 315-01-210 | 6-8mm | 0.004mm | Φ6mm | 53.5mm | 0.5mm | 100mm |
| 315-02-210 | 8-10mm | 0.004mm | Φ8mm | 53.5mm | 0.5mm | 100mm |
| 315-03-210 | 10-12mm | 0.004mm | Φ10mm | 53.5mm | 0.5mm | 100mm |
尺寸图



