测量台的基座由天然花岗岩制成,其测量表面具有优良的耐腐蚀性及抗磁性, 且硬度非常高。 测量面的平面度满足DIN 876/00 标准。 测量台带有丝杠提升及读数刻线(分辨力:0.01mm),方便悬臂杆的升降。
F1921花岗岩基座测量台
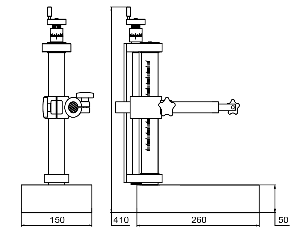
尺寸图

主要尺寸
| 货号 | F1921 |
| 测量范围 | 0-160mm |
| 悬臂长度 | 200mm |
| 测量面积 | 150X250mm |
| 立柱直径 | Φ35mm |
| 横向导柱直径 | Φ20mm |
| 表孔尺寸 | Φ8mm |
咨询热线0576-89603754
测量台的基座由天然花岗岩制成,其测量表面具有优良的耐腐蚀性及抗磁性, 且硬度非常高。 测量面的平面度满足DIN 876/00 标准。 测量台带有丝杠提升及读数刻线(分辨力:0.01mm),方便悬臂杆的升降。
F1921花岗岩基座测量台

| 货号 | F1921 |
| 测量范围 | 0-160mm |
| 悬臂长度 | 200mm |
| 测量面积 | 150X250mm |
| 立柱直径 | Φ35mm |
| 横向导柱直径 | Φ20mm |
| 表孔尺寸 | Φ8mm |